БИОГАЗОВАЯ УСТАНОВКА
Биогазовые установки прекрасное решение:
- для переработки отходов сельского хозяйства (солома, листва, ботва, навоз, помет и тд);
- утилизации органических отходов (бытовых отходов, отходов пищевой промышленности, отходов общественного питания и тд);
- утилизация органических отходов коммунального хозяйства (листва, трава и тд);
- снижения выброса метана в атмосферу;
- получение биогаза, который можно использовать для бытовых и производственных целей (для приготовления пищи, для отопления, для получения электричества и тд);
- получения высококачественного удобрения - жидкого и сухого биогумуса, которые могут использоваться для регенерации почвы и подкормки растений.
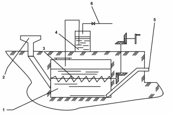
08.01.02. СХЕМА БГР С РУЧНОЙ ЗАГРУЗКОЙ И ПЕРЕМЕШИВАНИЕМ НО БЕЗ ПОДОГРЕВА СЫРЬЯ В РЕАКТОРЕ
Строительство биогазовой установки с ручной загрузкой и перемешиванием сырья также не требует больших финансовых затрат.
Она предназначена для небольших фермерских хозяйств. Объем реактора установки от 1 до 10 м3 рассчитан на переработку 50 - 200 кг навоза в сутки. Для повышения эффективности работы биогазовой установки смонтировано устройство ручного перемешивания сырья.

Схема биогазовой установки с ручной загрузкой и перемешиванием сырья
1. реактор; 2. бункер загрузки; 3. перемешивающее устройство; 4. водяной затвор; 5. выгрузочная труба; 6. отвод биогаза
ВНИМАНИЕ!
В связи с нелостаточной и разрозненой информации по альтернативным решениям, а также не долговечности информации и необходимости давать одинаковые пояснения на вопросы посетителей моих каналов YouTube и тд, был создан данный ресурс, для объединения информации и можможности делится своим опытом пользователей.
Об внесение изменений материала можете видеть в списке ниже!
ВНИМАНИЕ!
Если Вы не нашли ответ на интерисующу Вас вопрос в материалах - можете посмотреть среди ответов на вопросы посетителей или задать свой.
Для определения целесообразности использования биогазовой установки - Вы можете скачать таблицу с данными выхода биогаза из конкретного субстрата, которая регулярно коректируются.